RI Title
RI logo


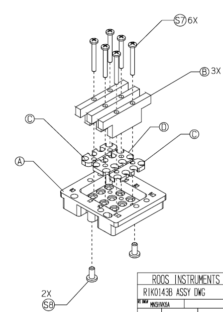
The Fixture used on Cassini systems require the routing of RF signals from the Test Instrument Module (TIM) attached to the tester to other TIMs or Fixture Inserts (DUT). This document describes the physical steps required to assemble this block.



ATTENTION: Assemble with cables in position on the Bottom Plate.

  1. Insert "E" into bottom plate with alignment holes facing inward, screw "F" into bottom plate.
    (bottom)
  2. Place PKZ Cables into their appropriate position and load alignment layers ("C", "D", "C") and insert .

  3. Install all 3 "B" blocks with "A" screws.

Print Email Link
https://roos.com/docs/RBEH-8VXUH2
ROOS INSTRUMENTS CONFIDENTIAL AND PROPRIETARY
©2012-2025 Roos Instruments, Inc. All rights reserved.